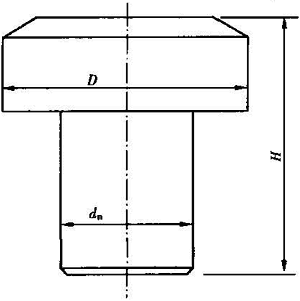
5.4 吸 气 阀 5.4.1 吸气阀应由阀体、阀瓣和密封环组成(图5.4.1)。 图5.4.1 吸气阀结构原理图 1-阀体,由上阀体、下阀体和导杆组成;2-阀瓣,由圆盘和密封环组成;3-密封环。 5.4.2 吸气阀可按表5.4.2分类。 表5.4.2 吸气阀分类 5.4.3 吸气阀的规格尺寸(图5.4.3)应符合表5.4.3的规定。 图5.4.3 吸气阀外形尺寸 表5.4.3 吸气阀规格尺寸(mm) 5.4.4 吸气阀的主要性能指标应符合下列规定: 1 吸气量:应符合表5.4.3的规定; 2 灵敏度:开启压力-150Pa<P<0Pa; 3 密封性:分别在30Pa、500Pa、10000Pa试验压力下,5min内试验系统中靠近吸气阀处的压力下降值不应大于10%; 4 耐久性:在(20±5)℃气温下,经(16h±5min)连续启闭试验后,接着在(60±2)℃气温下,再经(8h±5min)连续启闭试验,且每次启闭周期不小于3.5s、不大于4.6s(即每分钟约15次)。要求上述24h持续周期性启闭试验后,仍应满足本条第3款的规定; 5 耐寒性(低温型Ⅰ型):在(—20±3)℃下冰冻(1±0.1)h后,吸气量应不低于常温下的90%; 6 常温型Ⅱ类的工作温度应为0~60℃;通用型Ⅰ类的工作温度应为—20~60℃;为防止管道内凝结水流出,吸气阀应设有凝结水回流至管道内的构造。 5.4.5 吸气阀的设置部位应符合下列规定(图5.4.5): 1 应设在排水立管和副通气立管的顶部(不伸出屋顶),但不得用于主通气立管和专用通气立管的顶部; 2 在一栋建筑物的多立管排水系统中,至少应设一根伸顶通气立管,且宜设在最靠近排水出户口处; 3 设在排水横支管最始端的两个卫生器具之间; 4 高层建筑的排水立管,从第8层起每隔8~12层应安装一个; 5 设在易产生自虹吸的用水器具存水弯出水管处; 6 当排水立管是某个化粪池或潜污水池的唯一通气口时,不得安装吸气阀。 图5.4.5 吸气阀在排水系统中的应用示意 1-浴缸;2-洗脸盆;3-大便池;4-地沟/漏;5-吸气阀; 6-排水立管;7-排水横支管;8-排出管;9-伸顶通气管; 10-通气立管;11-环形通气管;12-小便斗 5.4.6 吸气阀口径的选用应符合下列规定: 1 排水立管上设置的吸气阀口径,应按吸气量不小于8倍立管总排水量选用。当单个吸气阀的吸气量不足时,可两个吸气阀并联设置; 2 排水横支管上设置的吸气阀口径,可按吸气量不小于2倍支管排水量选用。 5.4.7 吸气阀的安装应符合下列规定: 1 吸气阀必须竖直向上安装,其安装的垂直误差应小于5°。 2 吸气阀安装在横支管或器具排水管上时,其连通竖管的长度不应小于100mm。淹没型(A型)吸气阀可装于淹没水位以下不大于1000mm处,但普通型(B型)不能装在横支管淹没水位以下。横支管跌水高度不应大于1500mm; 3 吸气阀宜采用环形密封圈、活动插接方式与管道连接,或按产品说明书的要求连接(图5.4.7); 图5.4.7 吸气阀连接方式 4 吸气阀应安装在远离居室的屋顶层、阁楼、设备层、避难层,或管道井内便于检查的位置; 5 埋墙安装时应提供通气孔; 6 应避免周围环境含有对ABS阀体和EPDM阀瓣有腐蚀性的气体; 7 吸气阀通常不需要维护,当有损坏时,可整体更换; 8 应防止机械损坏。 5.4.8 吸气阀供应企业应提供符合本规程第5.4.3、5.4.4条规定的测试报告。